2.受信機の無線LAN接続(小型バージョン)

担当:小田原

前回の受信機の無線LAN接続では、EZL-80Cと評価ボードをそのまま利用して無線LAN接続を実現しました。今回はEZL-80Cのみを使って小型化を実現してみます。

1.導入

必要な物を次にあげます。

  • EZL-80C(設定済みの物)
  • みはるぞう拡張端子用ケーブル
  • 3.3Vと5Vの電源アダプタとアダプタジャック(3.0Vだと動作しなかったので注意)
  • ピンソケット(1x4以上あればよい)

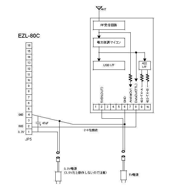
2.みはるぞうと接続

EZL-80Cは単体で動作しますから、みはるぞうと直接接続します。

さて、直接接続を行う上で問題となるのがみはるぞうとEZL-80Cの電源電圧の違いです。みはるぞうが5Vで動作するのに対して、EZL-80Cは3.3Vで動作します。今回は回路作成の手間を省くため、電源アダプタを2つ用意して電源を別々に供給することにしました。それでもデータ通信端子の電圧の違いが残りますが、直結しても問題ないかと思います。これは、EZL-80Cに搭載されているATMEGA64Lが2.7〜5.5Vの動作電圧であることによります。

拡張端子用ケーブルとアダプタジャック2つ、それからピンソケットを次の図のようにつなぎます(図では後ろで接続したコンデンサも入れています)

Connect02.gif

これでみはるぞう-EZL-80C接続ケーブルが完成しました。これをつなぐと下のようになります。実験中なので3.3Vの供給をクリップから行っています。

miharuzo02.jpg

この状態で動作させたところ、当方では無線LANがとぎれる、またはつながらなくなる、という不具合が発生しました。どうやら、このEZL-80Cに付属している無線LANカードが電圧降下に敏感らしく、内部でリセットがかかっているようでした。そこで、EZL-80Cの電源部(1ピンと4ピン)に47uF程度のコンデンサを半田付けしてみたところ、動作が改善しました。コンデンサは下のように取り付けました。

miharuzo03.jpg

このサイズなら、EZL-80Cを何かの箱に詰めてみはるぞうと重ねても違和感はないと思います。

リンク

続き

Last-modified: 2006-09-13 (水) 11:36:47 (7030d)